|
公司基本資料信息
|
|||||||||||||||||||||||||||
柜式七氟丙烷滅火裝置
產品特點
柜式七氟丙烷滅火裝置是一種預制的、以全淹沒方式、獨立成套、可移動的滅火設備,可以與消防控制中心相連接,由火災報警滅火控制器驅動實施自動滅火。
柜式七氟丙烷滅火裝置高效、安全、清潔、環保、
主動性強,不需設置專用的設備間,整套滅火設備均放置在保護區內。
適用范圍
適用于有工作人員常駐的保護區和儲存電器、磁介質,文物檔案或價值高的珍品及設備的區域。
例如:計算機房、配電室、通訊機房、圖書館、檔案館、博物館、潔凈廠房倉庫等不可用傳統介質(水、泡沫等)達到滅火效果的重點保護場所。
技術參數
|
滅火劑貯瓶規格 |
|
40L、70L、90L、120L、150L、180L |
|
滅火劑貯存壓力(20℃時) |
2.5MPa |
|
|
滅火劑噴射時間: |
≤10s |
|
|
滅火劑最大充裝密度 |
≤1120kg/m³ |
|
|
滅火形式 |
全淹沒式 |
|
|
最大工作壓力 |
(50℃)4.2MPa |
|
|
適用環境溫度 |
0℃~50℃ |
|
|
啟動電磁器工作電流/電壓 |
DC24V、1.5A |
|
|
啟動方式 |
|
自動控制、手動控制 |
|
箱體表面處理 |
|
噴塑 |
宸安優勢:
l 宸安消防擁有4000m²的專業化生產車間 1500m²倉儲空間
50年氣體滅火經驗專家團隊鼎力研發生產
l 產品經過23道實驗程序,確保0安全隱患
l 產品均采用特定編號的柜式氣體滅火裝置專用零部件
l 所有零部件均通過國家3C強制認證 
3C配件實物展示

產品配置示意圖
單瓶組七氟丙烷滅火裝置

雙瓶組七氟丙烷滅火裝置

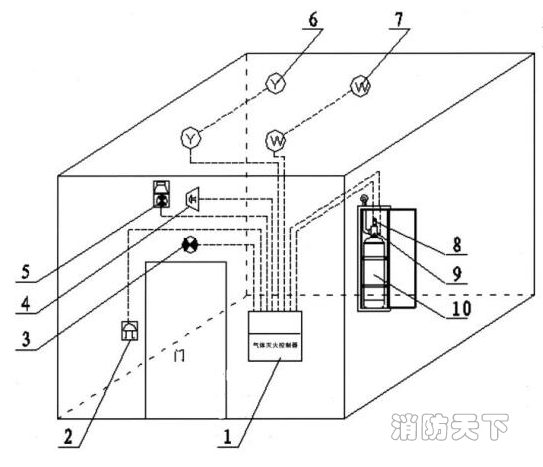
滅火原理

1、氣體滅火控制器 2、緊急啟/停按鈕 3、放氣指示燈 4、警鈴 5、聲光報警器 6、感煙探測器
7、感溫探測器 8、電磁啟動器 9、信號反饋裝置 10、儲存瓶組
選購指南
|
單瓶組規格 |
|
40L、70L、90L、120L、150L、180L |
|
雙瓶組規格 |
70L、90L、120L、150L、180L |